Blackmagic Design Mini Converter SDI to Audio (CONVMCSAUD)
Артикул CONVMCSAUD
11 880.00 грн.
11 404.80 грн.
нема в наявності
+ на бонусний рахунок
Платежів: Безкоштовна доставка
від /міс
Описание товара
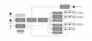
Модель Mini Converter SDI to Audio способна выделять четыре канала аналогового аудио или восемь каналов цифрового AES/EBU-аудио из любого SDI-видеосигнала. При любом SDI-подключении есть доступ к аудиосигналу для его подачи на выходы звукового оборудования, такого как микшеры, аналоговые вещательные деки, звуковые мониторы и многое другое!
Характеристики
Обзоры














